Apple dépose un brevet sur la localisation d'un véhicule dans un parking
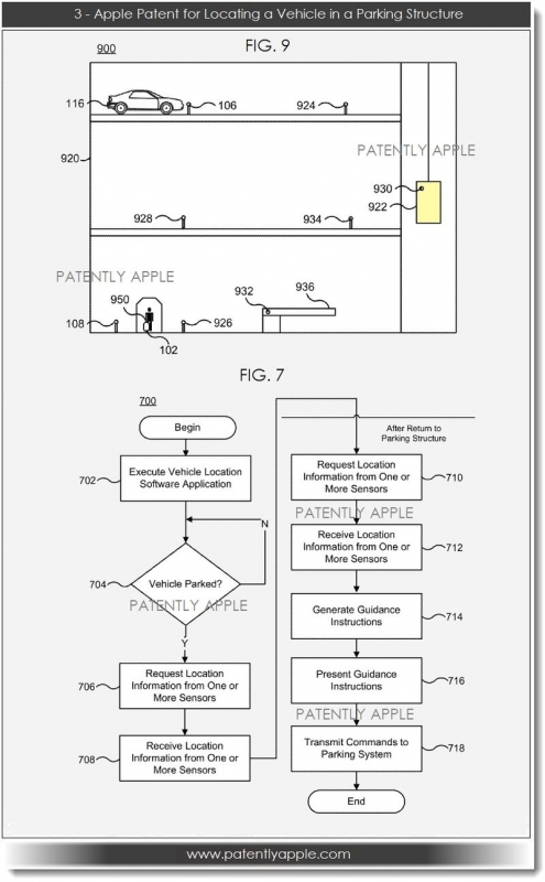
Apple a déposé un brevet expliquant une méthode pour localiser avec une grande précision un véhicule dans un parking.


La localisation est envoyée via un serveur central mais c'est ensuite grâce au Bluetooth que le système de localisation trouvera le véhicule.

Notez que le système n'est pas fait pour retrouver sa voiture mais plutôt pour localiser un véhicule de location.
Nous nous demandons sincèrement si le bon vieux système utilisant numéro d'étage et numéro de place n'a pas encore de longues années de vie devant lui quand on voit la débauche technologique nécessaire pour faire une chose similaire avec un iPhone...